Garmin podría tener entre manos el reloj Fenix soñado por todos los usuarios
Garmin presta gran atención a las solicitudes de los usuarios y, a través del trabajo duro, puede Comprometidos con el Fénix definitivo. A lo largo de los años, la empresa se ha centrado en las solicitudes que recibe de su gran número de seguidores.
Si te gustan los relojes inteligentes, conoces la serie Garmin Fénix Uno de los modelos más populares. Para los amantes del deporte. Su diseño y capacidades técnicas siguen siendo consistentes. Sin embargo, la serie Fénix aún tiene trabajo por hacer.
un modelo perfecto
Aunque Fénix también cuenta con modelos equipados con pantallas AMOLED y modelos de la misma serie con tecnología de carga solar, aún no están disponibles. Un modelo que combina estas dos características. Esto es algo que el fabricante enviará pronto.
carga solar
La carga solar es una característica importante en modelos como el Fénix 7 Pro Solar, una tecnología que garantiza El mejor sistema para obtener energía. Con este sistema de carga no tenemos que preocuparnos por problemas de batería si exponemos el reloj a la luz solar.
Se habló de baterías ilimitadas, pero al parecer esto también es cierto Depende de para qué usemos el reloj Y el tiempo que pasamos al sol. Sin embargo, como decíamos, la carga solar es una de las principales prioridades de los usuarios a la hora de elegir un Fénix.
pantalla AMOLED
Algo que gusta a todos los que compraron el Fénix 8 Pro y otros modelos es que Tienen estupendas pantallas AMOLED.. La calidad de imagen, el contraste y los colores son impresionantes.
Sin embargo, como ya sabrás, el Garmin Fénix con carga solar nunca vino con una pantalla AMOLED. En cambio, estos dispositivos siempre vienen con pantallas MiP (Memoria de píxeles). Y, como probablemente ya sabrás, el rendimiento de esta pantalla está a años luz de la AMOLED. Entonces este será un aspecto puede estar resolviendo.
¿Cómo hará Garmin esto?
Recientemente se han filtrado muchas patentes de Garmin. está provocando rumores Marque alrededor. Una vez más, el modelo Fénix con pantalla AMOLED y carga solar también está vinculado a una patente.

este es el plan
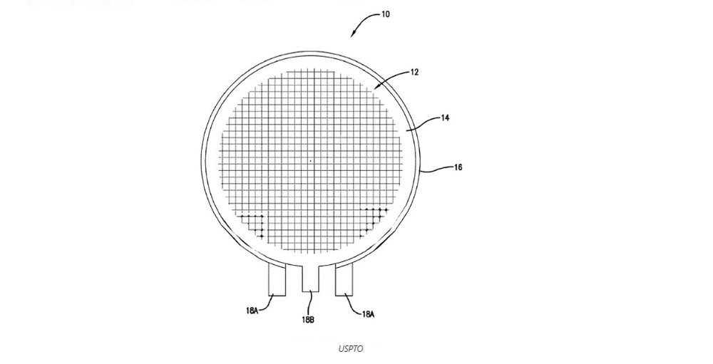
Según la patente, Garmin rediseñará la forma en que se utilizan las células solares en sus relojes. Para ello, la empresa registró la patente número US 2025/0359354 A1 en Estados Unidos. Muestra una célula solar con propiedades translúcidas. El documento muestra que este diseño evitará que la pantalla AMOLED se vea afectada por la carga solar.
¿El Fénix más avanzado de la historia está aquí?
La información de la patente ha dado lugar a diversos rumores y teorías. Algunos expertos creen que estamos a punto de lanzar El reloj más ambicioso de la colección Fénix.
Estos serán los modelos. Gama alta equipada con pantalla AMOLEDsistemas de carga solar y excelente rendimiento en todos los niveles. La única mala noticia es que el precio puede ser superior al que está acostumbrado el fabricante.

¿Cuándo se podrá liberar un fénix así?
Fanáticos de Garmin y Phoenix, especialmente, deben tener paciencia. La razón es que la Oficina de Patentes de Estados Unidos aprobó la patente el 20 de noviembre. Esto significa que el proceso aún es reciente.
Por supuesto, Garmin aún no ha empezado a trabajar en serio. hasta que seas aprobado. Así que ahora podrán iniciar el proceso, aunque se espera que sea lento.
La única buena noticia es que algunos comentarios han dicho Garmin Fenix 9 posible No estarán disponibles hasta 2027. La marca, por tanto, tiene potencial para aprovechar esta evolución, siendo la serie Garmin Fénix 9 la primera en lanzar un modelo con ambas características.
Preguntas frecuentes sobre el futuro de la serie Fénix Aún no hay una fecha específica, pero los rumores sugieren que no llegará pronto. Se espera que la serie Fénix 9 se lance en 2027, pero aún no se ha confirmado si se incluirá alguno de los modelos.
El sistema de carga solar afecta a la visualización de la pantalla e impide que sean dos funciones que se puedan combinar.
Si bien aún no se ha anunciado nada oficial, se dice que está en la gama superior de Garmin.
¿Cuándo se lanzará este nuevo Garmin Fénix?
¿Por qué Phoenix no combina ahora estas dos tecnologías?
¿Cuánto costará el futuro Garmin Fénix?
Puedes consultar la fuente de este artículo aquí